1.3万股民懵了!董事长成失信被执行人,上市公司竟“秘而不宣”!深交所责令:换人!

文章正文
发布时间:2025-07-01 10:09

K图 002295_0

  6月24日晚间,深交所一纸监管函揭露出精艺股份(002295)及其高管多项违规事实。

  监管函显示,该公司未按规披露公司实控人、董事长失信以及董事长不具备任职资格等情况,被责令整改并更换董事长。

董事长失信未披露

精艺股份被责令更换董事长

  6月24日晚间,深交所向精艺股份以及公司实际控制人、董事长黄裕辉,总经理卫国,董事会秘书杨翔瑞下发监管函。

  监管函显示,经查明,精艺股份及相关当事人存在多项违规事实:

  其一,未按规定披露公司实际控制人、董事长失信情况。经查,精艺股份实际控制人、董事长黄裕辉被多地人民法院纳入失信被执行人名单。精艺股份在《第八届董事会第一次会议决议公告》等临时报告及相关定期报告中,未如实披露黄裕辉上述失信情况。

  其二,公司董事长不具备任职资格。精艺股份现任董事长黄裕辉被人民法院纳入失信被执行人名单,构成《中华人民共和国公司法》第一百七十八条第一款第五项规定的不得担任公司董事、监事、高级管理人员情形,违反了《上市公司治理准则》(证监会公告[2025]5号)第二十六条的规定。

  精艺股份董事长黄裕辉、总经理卫国、董事会秘书杨翔瑞,未能按照《上市公司信息披露管理办法》第三条第一款、第四条的规定履行勤勉尽责义务,对公司相关违规行为负有主要责任,其中黄裕辉、杨翔瑞对公司上述全部违规行为负有主要责任,卫国对公司第一项违规行为负有主要责任。

  基于上述违规事实,广东证监局决定对精艺股份采取责令改正的监管措施,对黄裕辉、卫国、杨翔瑞采取出具警示函的行政监管措施。

  广东证监局要求,精艺股份及相关责任人应在收到决定书2个交易日内采取有效措施进行整改,更换董事长并如实披露相关信息,并在收到决定书之日起30日内向该局报送整改报告,并抄报深圳证券交易所。

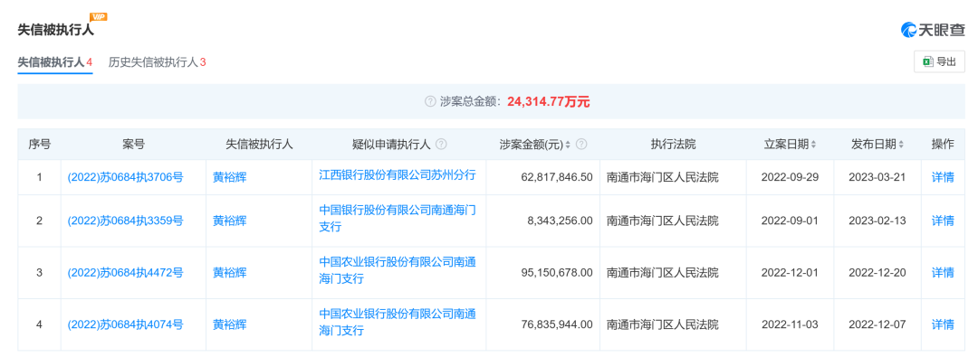
  天眼查显示,黄裕辉共存在4条失信被执行人信息,均由南通市海门区人民法院执行,涉案总金额约2.4亿元。

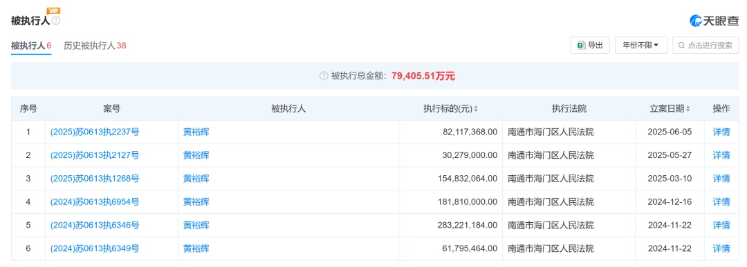
  除此之外,他还存在6条被执行人信息,被执行总金额达到7.9亿元。

  精艺股份年报显示,黄裕辉不仅担任公司董事长2019年4月至今担任公司董事长,他还曾担任过江苏南通三建集团有限公司总经理、董事长、南通三建控股有限公司董事长兼总经理等职务。

  黄裕辉2024年从上市公司获取的薪酬为8万元,但他同时在公司关联方获取报酬。

  wind数据显示,截至3月31日,精艺股份股东户数为13562户。截至发稿,精艺股份股价跌2.87%,报8.11元。

阻挠司法拍卖?

法院“叫停”公司相关章程修订

  24日晚间,精艺股份同时公告称,公司拟取消2024年度股东会《关于修订公司<章程> 的议案》。

  精艺股份称,6月23日,公司收到《江苏省南通市海门区人民法院》【(( 2024)苏0613执4200号告知函】。告知函内容如下:

  黄裕辉、南通三建控股有限公司、精艺股份董事会:

  本院在执行申请执行人江苏海润城市发展集团有限公司(以下简称海润集团)与被执行人南通三建控股有限公司(以下简称三建控股)质押合同系列执行案件中,查封了三建控股质押给海润集团的“精艺股份”股票7518.47万股,拟予司法拍卖。

  现经执行查明,精艺股份于2025年6月5日召开了董事会会议,审议通过了《关于修订公司 <章程> 的议案》的提案,并公告定于2025年6月27日召开股东会审议。 在该议案中将“通过司法拍卖方式受让公司股权”定义为“恶意收购”,以及包含增加对高管、监事的赔偿额等其他可能损害股权价值、设置司法拍卖成交障碍的条款,这些条款违反了《中华人民共和国公司法》第五条、第二十五条、第一百四十三条、《 上市公司收购管理办法》第八条等规定,妨碍了本院的执行进程。

  本院认为,南通三建控股有限公司、黄裕辉的行为违反了《中华人民共和国民事诉讼法》第一百一十四条的规定,构成拒不履行人民法院已经发生法律效力的判决、裁定;广东精艺金属股份有限公司董事会、黄裕辉的行为违反了《中华人民共和国民事诉讼法》第一百一十七条规定的协助执行义务。 请在收到本通知之日起三日内改正违法行为,撤回包含定“人民法院司法拍卖”为“恶意收购”以及其他可能妨碍本院司法拍卖及成交后交付障碍条款的提案,否则本院将依法追究相关单位及个人的司法责任。

  精艺股份称,鉴于此,公司董事会决定取消《关于修订公司<章程> 的议案》。

  6月24日,精艺股份召开第八届董事会第四次会议,审议通过了《关于取消2024年度股东大会部分议案的议案》。值得注意的是,会上,两名董事投出了反对票。

  董事李珍的反对理由为“章程修改既没有拘执的主观故意也没有起到拘执的法律后果,没有违法违规,当时6月5日的决议是审慎,如果股东有不同意,请上股东会否决 ”,董事王强则没有提出具体理由。

  官网显示,精艺股份于1999年7月创立,并于2009年9月29日在深交所上市。公司主营业务为铜加工产业和数字能碳服务,目前形成了以铜加工产业为基础、精准供应链服务贸易为依托的发展模式。公司控股股东为南通三建控股有限公司,持股比例为30%。黄裕辉、周炳高、施晖3人为公司共同实际控制人。